北京摩业
个人中心
搜索
北京摩业
文章详情
副标题
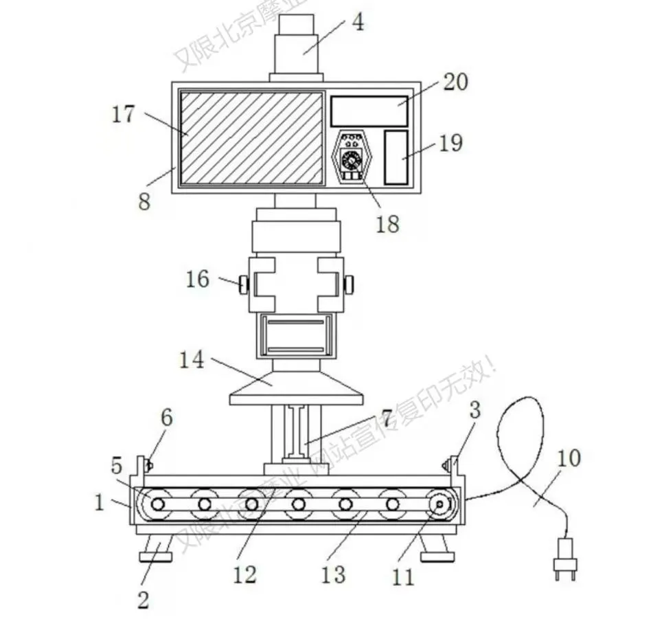
一种人工智能显微镜
赵以恒
2022-01-22
来源:北京摩业
这种显微镜由北京摩研工业设计有限公司参与设计研发,可以不需要通过肉眼贴近目镜对目标进行观察,这种显微镜可以远程对成像进行观察、分析、比对、保存,可连续稳定流畅的进行目标远程传输。
研发成果
阅读原文
分享
下一篇:
这是最后一篇
上一篇:
这是第一篇
发表评论
登录评论
匿名评论
提交
提交
首页
客服
品牌介绍
分享
我的